18163321771 / 17720587963

搜索

首页 >> 新闻资讯 >>  公司新闻

公司新闻 行业新闻 技术洞察 政策法规
关键时刻能救命!PA视讯集团科技智慧消防守护校园消防安全

白云丝丝游九天,银杏片片漫校园。正是橙黄橘绿时,莫因火灾酿悲剧!
校园人员密集,用电用火场景多,一旦发生火灾,其造成的经济损失比盗窃高出几十倍。建国以来,在我国所有全日制高校中,未发生过火灾的寥寥无几,仅2022年记录在册的就有15起火灾!

2022 火灾事故

11月24日,合肥市金寨南路一商务学院女生宿舍发生火灾。

11月16日下午4时,四川成都市四川外国语大学成都学校女生宿舍楼发生火灾。

9月8日,天河区华南农业大学泰山区16栋1楼发生火灾。

7月1日,广西外国语学院的一食堂起火。

6月16日,凌晨桂林一高校电动自行车充电棚发生火灾。

6月4日18时,湖南财政经济学院一男生宿舍突发火灾。

5月18日上午,中国农业大学西区食堂着火。

5月江苏常州一高校5楼宿舍起火。

4月20日10时50分,中南大学材料科学与工程学院一实验室发生爆燃事故。

4月3日下午,广东中医大学城宿舍K栋 某宿舍突发起火。

3月16日,湖南某职业技术学院一男生宿舍发生火灾。

3月2日,清华大学紫荆公寓发生火灾。

3月,海南某大学的教师公寓楼一房间着火。

2月27日上午9时,贵阳市乌当区贵州师范学院女生宿舍突然起火。

2月19日下午,江西萍乡学院一女生宿舍突发火灾。

火灾救命神器

mceu_13372010611701399559348.jpg

mceu_4236717521701399595015.png

mceu_15652078531701399607671.png

火灾事故回放

2023年11月20日下午14时34分,广州大学城某高校宿舍火灾事故

事故概况:生活区学生宿舍5栋某房间发生火情,现场人员接到监控中心呼叫后及时出警、处置得当,加上事件发生在学生上课期间,事故没有造成人员伤亡、财产损失较小。火调初步结论是:因为书籍覆盖在劣质接线板上,接线板发热导致着火。

系统响应:PA视讯集团科技双波长烟感设备在火灾发生初期快速本地化报警响应,并通过智慧消防平台向消防监控中心推送警情,平台详细记录了报警设备发生的时间、地点。

mceu_79969779441701399682025.png

mceu_18887868151701399726077.png

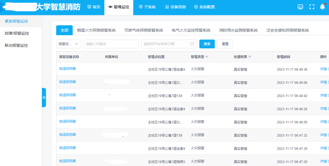
2023年11月17日早上6时47分,北京某著名高校宿舍发生火灾事故

事故概况:主校区19号公寓某房间发生火情,房间、楼道和楼梯间的无线烟感相继发出了火灾报警,保卫处防火科值班人员及楼管第一时间赶到现场,及时将火灾扑灭。火调初步结论是:因为学生的电暖脚毯温度过高起火。

系统响应:PA视讯集团科技双波长烟感设备在火灾第一时间报警响应,为宿舍学生赢得宝贵的逃生时间,平台报警后宿管人员第一时间到现场核实火情通知救火,避免了大范围的火灾损失。平台详细记录了报警设备发生的时间、地点。

mceu_91723593561701399759384.png

 mceu_87949080111701825395623.png

PA视讯集团科技校园智慧消防方案

 

mceu_29234022381701400113713.png